Google的创新精神像是与生俱来的一样。从比利时没有空调的数据中心到云计算数据中心冷却的专利技术,Google的创新专利总是能博得重彩。 其实除了IDS的DATAship,谷歌曾经也提出了相似的专利“water-based datacenter”,曾经有人还预言这个数据中心一旦做成将成为其搜索引擎的枢纽。

Google海上数据中心
“water-based datacenter”将设3至7英里的海岸,在50至70米的海上。如果足够完善,这种方法可以用来建40兆的数据中心,而且不需要房地产或物业税。

“water-based datacenter”将依靠海水和潮汐发电,同时利用海水的流动,对数据中心里的机器进行冷却。将数据中心设立在一艘或多艘停靠在水上的船上,通过自然水流运动采集能源,转换成为电能提供给数据中心使用,或者提供给冷却水泵用于冷却数据中心。

Google认为这类数据中心具有易安装、可随时转移等优点,而且使用清洁能源,不会对环境造成任何污染。
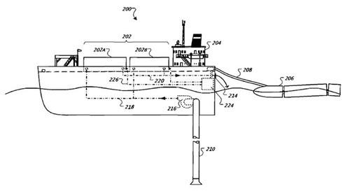
Google海上数据中心以一个海动力泵冷却系统和海水对淡水热交换器为基础。该数据中心可与标准集装箱内的计算机联合使用,使其更轻便(例如,能够被拖运到船或卡车上)。数据中心可以在有模块化建造成本低的地区,并可能被运往需要通信保障相对较快的地点。
数据中心可以被卸载到一个较长期存在的地方,也可以连接到这些卸载后的位置,像是动力机械、船舶都可以部署到另一地区。此外,数据中心以航运集装箱的形式,可以迅速进行交易并满足技术的变化。模块化也使得维护简单;咸水环境恶劣使硬件腐蚀或磨损,可方便地通过交换容器进行硬件更换。
Google表示,数据中心货柜可堆叠两个或更多的高度,使每个数据船舶可以放置“12个或更多的”容器。

Google的专利中提到,数据中心将设3至7英里外,这可能表明,谷歌在海底电缆的距离之外,是以土地为基础的数据中心连接的范围。因为海上数据中心将包括电源和冷却,所以他们仍然需要工业实力来支撑。谷歌也表示,将找到一个合作伙伴与其他5家公司的海底通信电缆横跨太平洋,可提供高速数据连接到新的谷歌亚洲数据中心。

Google表示,将使用信号,如闪烁的灯光,标志机制,响号,提醒它的存在和在数据中心位置的其他船舶。而且谷歌选择的位置也不同于IDS,该公司计划建立50个数据中心停泊在各大城市的码头。

详解Google海上数据中心系统组成
Google海上数据中心系统组成
系统构成及要求:
系统构成:
计算机数据中心靠近及包括水体计算单位的复数;在电子连接的海上的电子发电器与计算单位的复数;提供的一个冷却或更多海水冷却装置计算单位的复数。
系统要求:
。计算单位是安装在一个可移动的多元化模块的起重机上。
。海基发电机包括一个波浪发电机系统。
。海基发电机组成一个网格机排列在一个多元化的运动动力上计算复数。
。波驱动发电机系统包括一个或中,多个台波力发电装置机器。
。海基发电机包括一个潮汐发电机系统。
。多元化的冷却海动力泵和一个或更多的海水对淡水的热量换热器。
。发电机组成的一个或更多的电力,使供电电源整流器直接用于工作。
。进一步组成一个多元化的变压器,降压转换直流电源电压为计算单位。
。海基发电机由一个或更多的风力涡轮机组成。
。其中的一个或多个风力涡轮机提供抽油机功率为海水冷却。
。有一个补充冷水机组冷却系统的数据中心平台,以提供额外的冷却。
。计算机数据中心包括一个浮动平台安装的数据中心。
。发电电力使用海浪,潮汐,水流运动或相邻的一个数据中心提供的电力;
。数据中心通过加热水相邻换热器来使数据中心设备冷却。
。数据中心设备包括一个在机架阵列的多元化大型电脑安装板。
在专利技术中,Google还仔细阐述了海水发电和建立机器水冷系统的原理。按照Google的计划,Google将在离海岸7英里(约11.2公里)处停放船只,部署足够支持其互联网搜索引擎的超级计算机。?

从谷歌海上数据中心的系统要求上我们不难看出他们确实是做了很大一番功夫的,很多技术层面的东西已经想的比较透彻,而且抓住了现在传统数据中心的一些劣势,把这个作为切入口相信会对一些合作伙伴更有吸引性。此外,有消息称IBM、Dell和惠普也正在考虑将船只作为数据中心的空间载体。



下载 
下载
下载
下载
下载 
下载
喜欢
顶
难过
囧
围观
无聊





